近日,据媒体报道,字节跳动(香港)有限公司已更名为抖音集团(香港)有限公司,字节跳动旗下其他数个公司也陆续更名为“抖音”。

图源|启信宝网站截图
字节跳动成立于2012年3月,如今已成为比肩阿里、腾讯的互联网巨头,旗下的今日头条、抖音几乎是全民型软件,每天活跃用户过亿。字节跳动更名为抖音集团消息传来,引起了业内外广泛讨论。很多网友认为,虽然大家知道抖音,却不一定知道字节跳动,把公司名字改为抖音集团,更利于企业名声的传播,也节约广告宣传成本;也有些人认为,抖音后续或在香港上市,随着字节跳动发展,如今已成为一家真正意义上的跨国公司,在资本市场、业务发展和品牌形象上,有意地进行国内与国际的区分、风险隔离。
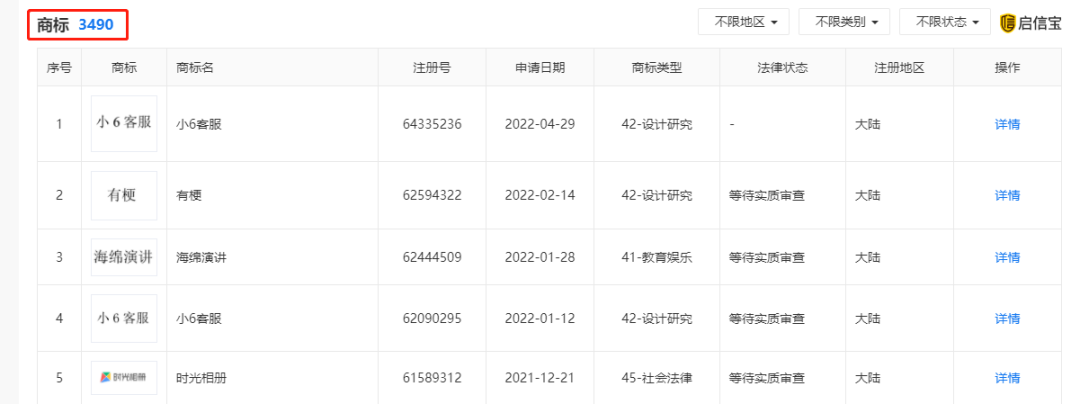
据启信宝网站查询,字节跳动公司名下有商标3490个商标。

图源|启信宝网站截图
《商标法》四十一条规定:“注册商标变更注册人的名义、地址或者其他注册事项的,应当提出变更申请。”
也就是说,企业如果变更了名称、地址、或者删减注册申请中指定商品,可以向商标局办理变更手续,比如企业名称,或者公司搬家了,这些都需要申请商标变更!目前,很多的企业并没有认识到商标变更的重要性,事实上:不及时申请商标变更,甚至可能丧失商标权!

图源|爱设计
商标有撤销风险
商标局有关于商标撤三的规定,若商标局收到任何人提出该商标三年未使用的申请撤销,会向商标注册人寄往通知书,通知书收件地址是根据商标注册人提供的地址,若企业已迁移,无法收到通知书;另外,如商标信息变更了没有向商标局备案,撤三答辩中提交的商标使用证据可能会与营业信息不一致,导致证据无效,可信度也会下降,商标评审委员会很难接受采纳。
企业、个人进行对商标转让、授权时,商标局会核对商标注册的信息和营业执照的地址、名字是否一致,若被发现商标信息的企业名字、地址不一致,商标局会驳回申请,需要先做变更申请,才能办理商标转让、授权等手续。商标注册过程中,可能会遭遇驳回会要求答辩,但若地址变更了,注册人将无法收到商评委的通知,从而失去复审或答辩的机会,最终商标注册失败。企业在办理办理招投标、银行、商标质押等业务时,也需要对商标注册信息进行审批,如名称、地址信息等未及时更改,会造成资料信息不一致,影响后续审批流程。
天猫、京东、苏宁等电商平台入驻都需要企业提供商标注册证书,平台会将商标信息和营业执照的名称、地址进行核对,如果信息不一致,是不能进驻商场或网络商城,影响后续推广。商标的使用期限为10年,10年期满需要及时办理续展,续展时会对商标信息进行核对,发现商标名称、地址没有不一致可能会导致商标续展失败,企业将不再拥有商标权,不利于长久积累的品牌效应。所以,企业如果营业执照发生过名称或地址变更的,公司名下的商标一定要及时做变更并注意保留使用证据,才能确保万无一失。